深圳社会组织2020年度工作报告填报操作指引
1、填报网址:入口见文末提示
2、登录账号密码:登录账号密码均为往年年报登录的账号密码,2020年1月1日至12月31日成立的社会组织登录前需点击“注册账号”注册(此处需要法定代表人手机号码接收验证码)。
如忘记账号、密码的社会组织,请递交“(社会组织名称)关于找回社会组织工作平台账号密码的申请”,经法人签字加盖公章后发送至2291401800@qq.com邮箱,工作人员将重置密码后通过邮箱回复。
3、浏览器要求:推荐使用谷歌浏览器。
4、修改密码及绑定手机:登录系统后请点工作平台左侧“用户中心”和“手机绑定”进行操作。

5、开始填报:点击工作平台左侧“业务办理”按键,然后点击右下角“申请”按键即可进入年报申报界面。

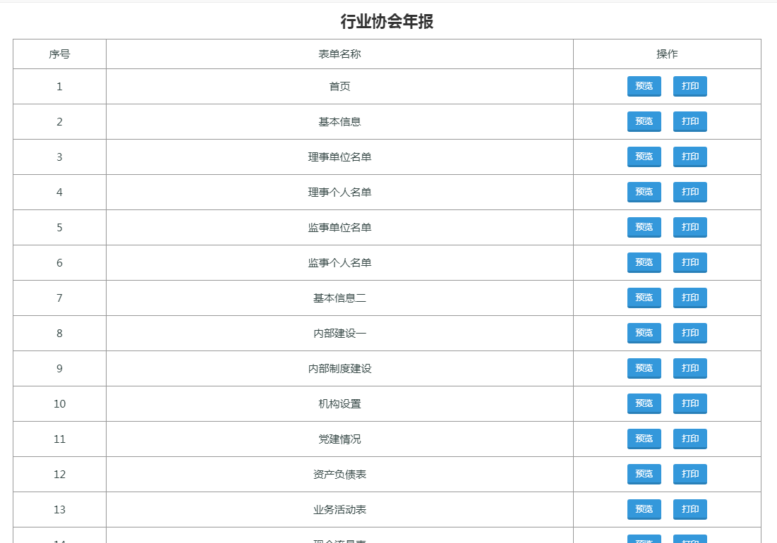
点击“申请材料”,查看本社会组织必须上传的材料清单,请申报人认真阅读下图红框中的“材料描述”,这里以普通社团为例。其他材料均为选择性上传。阅读完后请点击右下角“下一步”。

“业务情形”本页无需填写,直接点击右下角“下一步”进入“表单填写”。首先把报告书首页的信息输入完整,填写完整后点击右下角“保存”按键,显示保存成功后点击“打印”按键,把报告书首页打印出来。让本社会组织法人手签并盖上本社会组织公章。

填写完首页后,请点击年报左侧目录“基本信息”

请认真、如实的填写本社会组织的信息,“社团名称”、“住所”、“法定代表人”等信息均为登记事项,由系统直接从登记系统导出无法进行修改,如这类无法修改的信息与实际情况不相符的,请联系我局登记处进行变更后,这类信息才会修改。其中“理事人数”无需填写,这里的数字将会根据后面的“理事单位”和“理事个人”相加所得。
注:此年报系统所有项均为必填项,根据本社会组织实际情况填写,如果没有存在相关情况请在表格内填写“无”或者“0”再点击保存。保存成功后再点击目录其他项进行填写。
“基本信息”保存成功后点击左侧目录“理事单位名单”进行填写,理事人数较少的社会组织可以直接在网页上填写理事情况,可点击表格上的“增加”按键增加表格。

如果理事较多,可点击表格上“下载模板”按键下载批量导入模板。

在Excel中批量处理理事信息,最后点击“批量导入”按键,把处理好的理事表格导入到年报系统。
“理事个人”、“监事单位”、“监事个人”均参照上面方法进行填写。
后面的表格全部为必填,请各位申报人认真填写,如漏报或者填报的数据存在明显的逻辑错误,年报将不予通过。
5、如何打印年报材料?
在目录的“首页”可以打印年报所有报表,点击首页,向下滑动点击打印所有。


点击打印可以打印对应的表格。

将所有表格填写好后点击右下角“下一步”进入“材料上传”页面,根据材料描述上传本社会组织需要上传材料。

当必须的材料上传完成后点击右下角“下一步”完成年报申报。申报完成后可在办事跟踪查看年报办理进度。

当“办理状态”显示为“办结(正常办结)”时,请携带社会组织法人登记证书副本原件到盐田区海景二路1088号工青妇活动中心大楼2楼203室区民政局社会组织管理科盖年报章。

当“办理状态”显示“退回”时,请点击右侧“回复意见”按键查看退回原因,并按退回原因进行修改后重新提交。

微信搜索或扫描文末二维码,关注【深圳之窗】微信公众号,回复关键词【社会组织】,获取深圳社会组织2020年度工作报告填报入口及最新消息

深圳之窗 微信公众号一大波便民功能上线啦!扫面下方二维码,关注后在微信对话框中回复“ 摇号 ” 即可实时获取申请最新结果;回复“ 电费 ” 即可在线查询用电信息以及缴费!
分享到