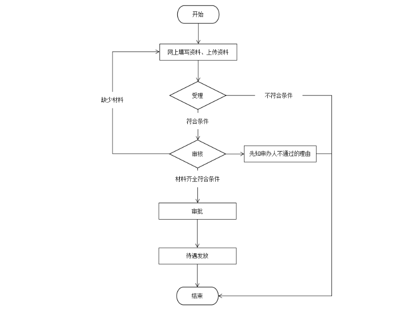
一、网上办理流程
第一步:申请。参保人网上填写申请表,并上传相关办理材料; 第二步:网上受理。受理人员核验申请材料,不符合条件的不予以受理。如需补充材料的,出具《补充材料通知书》。 第三步:后台对业务进行办理,并提交审核。 第四步:办理结果通过网上进行反馈。

二、线下办理流程
第一步:申请,前台受理工作人员接到接到相关办理材料申请后,将当场对申请人的资格和申请材料的完整性进行检查。 第二步:受理,对已参加中山市工伤保险,且申请材料完整的,应当场受理,发给《受理回执》。

微信搜索注【深圳之窗】微信公众号,回复关键词【工伤】或【工伤保险】,获取2024年深圳工伤保险伤残待遇的申领入口、办事指南及工伤保险相关的其他最新消息!
深圳之窗 微信公众号一大波便民功能上线啦!扫面下方二维码,关注后在微信对话框中回复“ 摇号 ” 即可实时获取申请最新结果;回复“ 电费 ” 即可在线查询用电信息以及缴费!
分享到